Количество сравнений
Разбор эффективных методов объединения данных: сравнение Quick и Merge В мире обработки данных и баз данных вопрос выбора метода объединения данных является
Разбор сортировки деревом: что такое AVL-дерево и почему оно важно? Когда мы говорим о структурировании данных и поиске информации внутри программных продуктов
Разбор сложностей сортировки списков: как стать мастером упорядочивания данных Когда мы говорим о программировании или системном администрировании, сортировка
Разбор алгоритма Counting Sort для строк: как эффективно сортировать текстовые данные — Когда речь заходит о эффективной сортировке текстовой информации
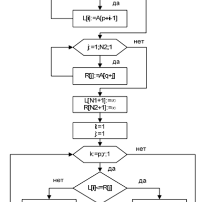
Разбираемся в сравнении алгоритмов сортировки: QuickSort против MergeSort — что выбрать и почему? Когда речь заходит об обработке больших данных и необходимости
Разбираемся в сортировке слиянием и её применении с многопоточностью: как ускорить обработку данных В современном мире объём данных, которые необходимо
Искусство работы с базами данных: Путь к мастерству Что такое база данных? База данных (БД) — это организованная коллекция данных‚
Путь к успешному личному бренду: как использовать внутреннюю и внешнюю сортировку для привлечения внимания и роста Почему важно правильно структурировать
Путешествия за границу: как подготовиться и сделать их незабываемыми Путешествия за границу, это всегда особое приключение, полное новых впечатлений, открытий и знакомств.
Путешествия внутри себя: как найти гармонию и открыть новые горизонты в личной жизни Вступление: почему путешествие — это больше, чем просто перемещение










